Battery Pack Assembly Process Series 7 - Energy Storage Container Manufacturing and Assembly Process Flow
Whether it is used for new energy vehicles or energy storage scenarios, the core function of the battery pack is to store energy. "If the battery pack is compared to a soldier in the army, then the energy storage container can be regarded as a well-equipped, coordinated army".
The composition structure of the energy storage container is complex, mainly including the following key parts: container, battery pack, electrical system, fire protection system, communication monitoring system, thermal management system, auxiliary system (air conditioning, lighting, etc.).

This issue will introduce the structure and manufacturing process of energy storage containers in detail.
01 Battery Cabin Online
After the battery cabin is online, it is generally necessary to check its appearance, size and protection level according to the requirements of the design drawings to ensure that the cabin strength, corrosion resistance and sealing meet the product quality requirements. At present, the container specifications used for large storage products are generally 20 feet and 40 feet. The specific dimensions can be referred to as follows.
Note: 9'6 "=2896mm, 8'6"=2591mm, 8 '=2438mm
The battery rack is used to install and fix the battery pack, and is generally welded with steel. The battery rack needs to meet higher strength requirements. The weight of a single 1P104S battery pack can reach more than 600Kg. In order to increase the energy density, a row of battery racks often needs to place nearly 10 battery packs.
02 Fire Protection System Installation
Compared with power battery packs, energy storage battery packs have higher requirements for safety performance, so a fire protection system is also added to ensure its safety during service.
Fire protection system: smoke sensor, temperature sensor, fire extinguishing device, etc. When abnormal conditions such as fire are detected, the fire extinguishing device can be automatically started to perform fire extinguishing operations to prevent the spread of fire and ensure the safe operation of the energy storage system.
The installation content of the fire protection system mainly includes: PACK-level immersion pipes, solenoid valves (puncture valves), sound and light alarms, perfluorohexanone (or heptafluoropropane), fire sprinkler systems, etc.
03 Thermal Management System Installation
The first generation of large storage products are mostly air-cooled energy storage containers (walk-in type, that is, maintenance personnel can enter the cabin for inspection). The advantages of air cooling are simple structure, easy installation and low cost, but the cooling efficiency is not high, and it is difficult to meet the heat dissipation requirements of the energy storage system.
The current second-generation large storage products are basically equipped with a liquid cooling system, which not only improves the heat dissipation efficiency of the battery pack and the temperature consistency of the battery core, but also greatly improves the energy density of the product.
The liquid cooling system mainly includes: liquid cooling machine, liquid cooling pipe, valve, liquid cooling plate (integrated in the battery pack box).
Installation process: Generally, the liquid cooling machine and the main liquid cooling pipe are installed first, and then the second and third level pipelines are installed. After the pipeline is installed, an air tightness test (<150Pa) is performed. After the entire battery cabin is integrated, the coolant needs to be added.
It also includes the installation of air conditioners and ventilators (to improve the efficiency of the liquid cooling system and reduce the probability of condensation water inside).
04 Electrical System Installation
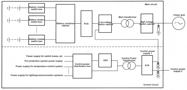
The electrical system architecture of the battery energy storage product is shown in the figure below, which is generally divided into the main circuit and the control circuit.
Main circuit: including DC circuit, PCS and AC grid-connected interface. The DC side is generally connected directly by DC cables from the battery cluster to the high-voltage box and then to the junction box, with necessary protection and switch devices. The battery compartment and the electrical compartment are separated by a steel fireproof door.
With the increasing capacity of the battery compartment, the PCS is generally arranged separately or integrated with other equipment such as transformers and switch cabinets in a prefabricated compartment.
Control circuit: mainly for powering the equipment in the compartment. Generally, BMS (Battery Management System), local controllers, fire protection systems, etc. need to be powered by UPS (uninterruptible power supply) to ensure normal function in the event of unexpected failures.
Installation process:
-
Wire harness laying from battery cluster to high-voltage box
-
Wire harness laying from high-voltage box to junction box
-
Installation of junction box
-
Installation of BMS display screen, emergency stop switch, indicator light, etc.
-
Transformer installation
-
Electrical system wire laying, junction box wire connection
05 Battery System Installation
Battery pack into the compartment: generally inserted into the battery rack by a forklift. Due to the very limited space, only skilled workers can do this work. In the future, as the automation of energy storage container assembly process gradually matures, this work may be replaced by automated equipment.
Installation process flow:
-
Battery pack into the cabin
-
High-voltage box installation
-
Battery pack connection
-
Second/third level liquid cooling pipe installation and connection
-
PACK immersion water fire fighting pipe connection
-
Solenoid valve harness connection
06 Electrical Performance Test
Pre-power-on detection:
-
Grounding reliability detection: Use a grounding resistance tester to check the grounding reliability of the battery pack, high-voltage box, and battery cluster. Generally, a 10A current is applied, and the grounding resistance value is required to be ≤0.1Ω.
-
Insulation detection: Ensure the connection between the battery cluster and the external power supply or other electrical equipment. Use an insulation resistance tester to connect the positive and negative poles and measure the insulation resistance of the battery cluster to the ground. Generally, it is required to be greater than or equal to 20MΩ.
Voltage-Withstand: Short-circuit all circuit ports and apply the corresponding test voltage to the ground (box shell). The system should have no breakdown and arcing.
Impulse voltage: The minimum rated cumulative withstand voltage of the low-voltage switchgear and circuit inside the container shall at least meet the national standard requirements.
Charge and discharge test: Generally, the two cabins are tested against each other. It is required that the dynamic pressure difference between charge and discharge during the test is less than a certain value, the maximum temperature is less than 40℃, the temperature difference is less than 5℃, the temperature rise of the plug-in surface is less than 50℃, and the discharge energy is greater than the rated energy value. Finally, the SOC needs to be adjusted to the factory setting value (generally 50%).
07 Life Test
Rain test: Use equipment to conduct field tests on the entire cabin for no less than 3 minutes, and the cabin is required to be free of water leakage.
Identification and label inspection: Check the battery cabin number, nameplate, warning sign, LOGO sign, grounding sign, fire sign, polarity sign, etc. to ensure that they are clear, correct, traceable, and in compliance with the drawing specifications.
Product appearance inspection: Ensure that the battery pack has no deformation or cracks, no dirt on the outside, the cabin coating color is consistent, there is no bubbling and shedding, the grounding structure is fixed and reliable, and the main valve is closed after the liquid cooling pipe is drained.
The manufacturing quality of energy storage containers highly relies on precise and reliable equipment support - whether it is the production consistency of battery units, the accuracy of module assembly, or the completeness of testing of the entire cabin system, specialized equipment is needed as technical support.
As an innovator in the field of new energy equipment, Acey New Energy has been deeply involved in battery manufacturing equipment and testing equipment technology for many years, with business covering the entire chain of equipment solutions in the energy storage industry.
Upstream materials: electrode slurry laboratory mixing equipment, electrode coating machine, etc.
Cell manufacturing: button/cylindrical/polymer battery full series experimental line (semi-automatic to fully automatic configuration, prismatic battery pack assembly line case).
System integration:
▶ Battery pack automated assembly equipment
▶ Multi level testing system (electrical performance/thermal management/fire linkage testing platform)
▶ Environmental safety testing chamber (equipment for thermal abuse testing, high-altitude low voltage testing, impact vibration simulation testing, etc.)